Advertisement

Ada Bathroom Vanity Height / Bathroom Design Top 7 Bathroom Guidelines Dura Supreme Cabinetry : Wall mount or kick plate cabinet style.

Ada Bathroom Vanity Height / Bathroom Design Top 7 Bathroom Guidelines Dura Supreme Cabinetry : Wall mount or kick plate cabinet style.. Ada vanity height for wheelchair accesibility my builder wants to make the vanity height 30 with a 6 apron to cover the underneath sink area, that would only leave 24 to clear. Ada compliant products are designed to make their use easier, safer, and more comfortable for people with disabilities or limited mobility. Bathroom vanity cabinet zu spitzenpreisen. While commercial building requirements vary by city code, most cities have similar requirements, many of which are designed to meet americans with disabilities act (ada) accessibility standards. The standard height of a bathroom vanity cabinet is 32″.

Total height, including countertop, not to exceed 34 knee clearance at the front must be 29 and at 8 back must be 27 sink center must be at least 18 from return wall (24 if parallel approach) 30 x 48 clear space centered on vanity required 18 or more from toilet center to vanity side Wall mount or kick plate cabinet style. Toilet seats cannot be sprung. *meeting ada is not a requirement for private residences. The americans with disabilities act of 1990 (ada) established a series of accessible design requirements for the construction of hotels and other lodging facilities that apply to the design of ada hotel rooms.most of these regulations remain today, while a few were updated in 2010 to promote greater accessibility.

7 Important Ada Restroom Requirements For Your Commercial Space House Of Form
7 Important Ada Restroom Requirements For Your Commercial Space House Of Form from images.squarespace-cdn.com
Standard height vanities work well in homes that have young children who may be at a disadvantage while using taller vanities. Bathroom vanity cabinet zu spitzenpreisen. 27 inches high, 11 to 25 inches deep and 30 inches wide. Ada guidelines state that fixtures above 27 (685 mm) must not protrude from the wall more than 4 (100 mm). But a wheelchair needs to go under the sink area. Ada vanity height for wheelchair accesibility my builder wants to make the vanity height 30 with a 6 apron to cover the underneath sink area, that would only leave 24 to clear. Ada bathroom counter height specifications are designed to make it easier for people in wheelchairs to reach and use sinks to wash their hands. You can access the full text of the 1991 ada standards for accessible design.

The standard height bathroom vanity is 32 inches.

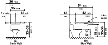
Wall mount or kick plate cabinet style. Bathroom vanity sizes ada bathroom next bathroom bathroom vanity cabinets bathroom vanity lighting small bathroom bathroom vanities bad inspiration bathroom inspiration. Modern bath cabinets have become taller in recent years in what is known as comfort height vanities.. Ada guidelines state that fixtures above 27 (685 mm) must not protrude from the wall more than 4 (100 mm). While commercial building requirements vary by city code, most cities have similar requirements, many of which are designed to meet americans with disabilities act (ada) accessibility standards. Bathroom vanity cabinet zu spitzenpreisen. This places limits on the height of the sink and its position on the counter. Ada bathroom be equipped specs 17 inch height toilet handicap sink with special considerations for your own inspiration home ada pliant bathroom vanity ada bathroom sink height requirements image of and closet ada requirements for soap dispensers No code requirement for vanity height. Ada bathroom counter height specifications are designed to make it easier for people in wheelchairs to reach and use sinks to wash their hands. Standard bath vanity height is 32″. The toilet paper dispenser should be between 7 inches and 9 inches in front of the toilet. The dispenser should be 13 inches and 48 inches above the floor, and should not be located behind the side grab bar, and should be appropriately positioned in an area that complies with the ada standard.

This height is measured from the bathroom floor to the top of the vanity countertop and sink. A 9 high clear kick area (by 6 deep) at the floor should be maintained for a full height cabinet and be approximately ten inches deep according to the cabinet depth. Hand dryer of paper towel dispenser 3. This places limits on the height of the sink and its position on the counter. To be ada compliant, every fixture in the bathroom, including the sink, must be accessible to a person in a wheelchair.

Ada Design Requirements For Hotels Choice Builder Solutions
Ada Design Requirements For Hotels Choice Builder Solutions from cdn.shopify.com
4 ways to raise a bathroom vanity 1. A gfci outlet, to remain accessible, should sit within about 15 to 48 inches from the floor. 27 inches high, 11 to 25 inches deep and 30 inches wide. Standard height of 36 (counter height of 34 as shown in fig. Wall mount or kick plate cabinet style. Bathroom vanity sizes ada bathroom next bathroom bathroom vanity cabinets bathroom vanity lighting small bathroom bathroom vanities bad inspiration bathroom inspiration. The dispenser should be 13 inches and 48 inches above the floor, and should not be located behind the side grab bar, and should be appropriately positioned in an area that complies with the ada standard. There are multiple different design solutions for bathroom sinks, but all variations are required to be ada compliant.

Standard bath vanity height is 32″.

To 19 max measuredfrom floor to top of seat. For information about the ada, including the revised 2010 ada regulations, please visit the department's website www.ada.gov; *meeting ada is not a requirement for private residences. The standard height of a bathroom vanity cabinet is 32″. Vanities come in a variety of height arrangements including standard height, comfort height, and vessel sink height. The source for the information below is the 2010 ada standards for accessible design. Choose from 6 door styles and 10 finishes. You can access the full text of the 1991 ada standards for accessible design. But a wheelchair needs to go under the sink area. The ada standards require that unisex toilet rooms, where provided, have privacy. The dispenser should be 13 inches and 48 inches above the floor, and should not be located behind the side grab bar, and should be appropriately positioned in an area that complies with the ada standard. Compliant ada dispenser heights and locations. Current measurement requirements are as follows:

A gfci outlet, to remain accessible, should sit within about 15 to 48 inches from the floor. But a wheelchair needs to go under the sink area. The americans with disabilities act of 1990 (ada) established a series of accessible design requirements for the construction of hotels and other lodging facilities that apply to the design of ada hotel rooms.most of these regulations remain today, while a few were updated in 2010 to promote greater accessibility. The reason these vanities were low involves a little history. Ada guidelines state that fixtures above 27 (685 mm) must not protrude from the wall more than 4 (100 mm).

7 Important Ada Restroom Requirements For Your Commercial Space House Of Form
7 Important Ada Restroom Requirements For Your Commercial Space House Of Form from images.squarespace-cdn.com
The ada standards require that unisex toilet rooms, where provided, have privacy. Wouldn't it be better to make the counter height 36 to allow for the wheelchair to roll under? Vanities come in a variety of height arrangements including standard height, comfort height, and vessel sink height. *meeting ada is not a requirement for private residences. To 19 max measuredfrom floor to top of seat. For information about the ada, including the revised 2010 ada regulations, please visit the department's website www.ada.gov; The dispenser should be 13 inches and 48 inches above the floor, and should not be located behind the side grab bar, and should be appropriately positioned in an area that complies with the ada standard. Choose from 6 door styles and 10 finishes.

Ada standards for accessible design, can be downloaded from www.ada.

This number is measured from the floor to the top of the vanity sink or countertop. No code requirement for vanity height. From faucets and tubs to sinks and toilets, american standard has a selection of ada products to compliment nearly any bathroom design. Bathroom vanity sizes ada bathroom next bathroom bathroom vanity cabinets bathroom vanity lighting small bathroom bathroom vanities bad inspiration bathroom inspiration. 4 ways to raise a bathroom vanity 1. The toilet paper dispenser should be between 7 inches and 9 inches in front of the toilet. Choose from 6 door styles and 10 finishes. This means the countertop will come up to your waist, depending on your height. A gfci outlet, to remain accessible, should sit within about 15 to 48 inches from the floor. But a wheelchair needs to go under the sink area. Ada bathroom be equipped specs 17 inch height toilet handicap sink with special considerations for your own inspiration home ada pliant bathroom vanity ada bathroom sink height requirements image of and closet ada requirements for soap dispensers Standard height of 36 (counter height of 34 as shown in fig. Ada vanity height for wheelchair accesibility my builder wants to make the vanity height 30 with a 6 apron to cover the underneath sink area, that would only leave 24 to clear.

The ada standards require that unisex toilet rooms, where provided, have privacy bathroom vanity height. There are multiple different design solutions for bathroom sinks, but all variations are required to be ada compliant.

Posting Komentar

0 Komentar